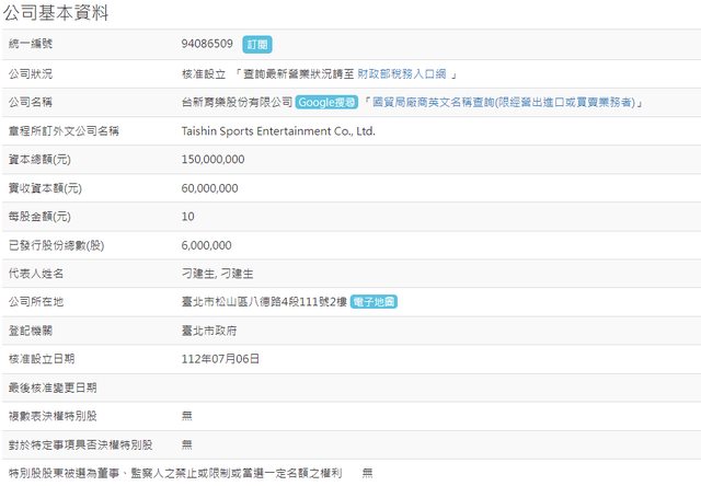
經濟部工商網站在2023年7月6日已經有核准設立台新育樂股份有限公司的資料 https://i.imgur.com/B5j4hh8.png
公司所在的辦公大樓 https://i.imgur.com/Ega6jzl.png
以為會在台新金控總部大樓 https://i.imgur.com/L68zo3G.png
沒意外的話最快7月7日宣布球隊資訊 https://findbiz.nat.gov.tw/fts/query/QueryBar/queryInit.do -- ※ 發信站: 批踢踢實業坊(pttsite.org.tw), 來自: 1.161.206.156 (臺灣) ※ 文章網址: https://pttsite.org.tw/basketballTW/M.1688683581.A.68A
snh48spush : 滿意外是警大校長刁建生當負責人的說 07/07 06:58
Kunimoto : 中信也找警界的,不知有什麼因素呢? 07/07 07:16
Hohenzollern: 警界高官是民間企業很好用的門神 07/07 07:21
outsi : 防止牛鬼蛇神啊 07/07 08:06
kannachan : 喬事情的時候很好用 07/07 08:39
smilejin: 交男友跟包養有什麼差別 07/07 08:39
currry : 警界高層很多都轉金控 育樂或保全 07/07 08:59
currry : 在位的時候摁摁摁卸任當然摁摁摁 07/07 09:00
kian0000 : 金融業近年找警察正夯 07/07 09:32
king0013 : 韓劇有演過,退休警察法官那些 07/07 14:33
homie407 : 去過88會館嗎 07/07 15:45
qusekii: 包養網到底在紅什麼? 07/07 15:45
cobras638 : 台新銀行八德大樓何時落成的? 我怎麼不知道? 07/07 21:05